小米近期成功注册玄戒O1商标
小米已注册多枚玄戒关联商标 小米已登记玄戒O1芯片作品著作权小米玄戒O1芯片已出货超100万颗
据媒体报道,4月27日,小米CEO雷军在投资者日上宣布,小米玄戒O1出货量已突破100万颗,未来小米自研芯片还会在小米汽车上使用。
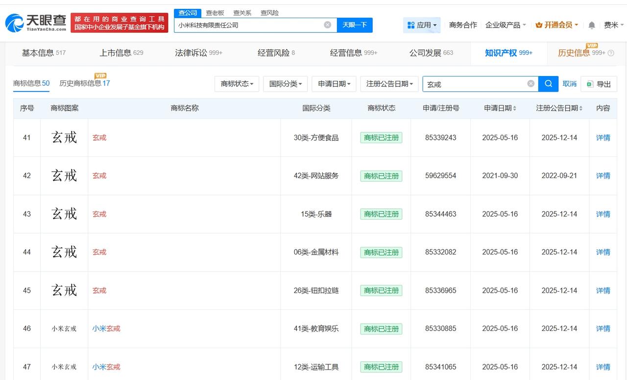
天眼查知识产权信息显示,小米科技有限责任公司已注册多枚“玄戒”“小米玄戒”“XRING O1”商标,国际分类包括医药、乐器、地毯席垫等。此外,北京玄戒技术有限公司登记了“Xiaomi XRING O1芯片视觉设计图”作品著作权,作品类别为美术。
天眼查信息:




