赛车拉花居然还可以这样玩?
保时捷刚刚公布了一项新专利,从专利图来看,这项新专利利用了电致变色玻璃上使用的常磁性涂层,从而使得车身上的赛车拉花可以变成其他颜色。
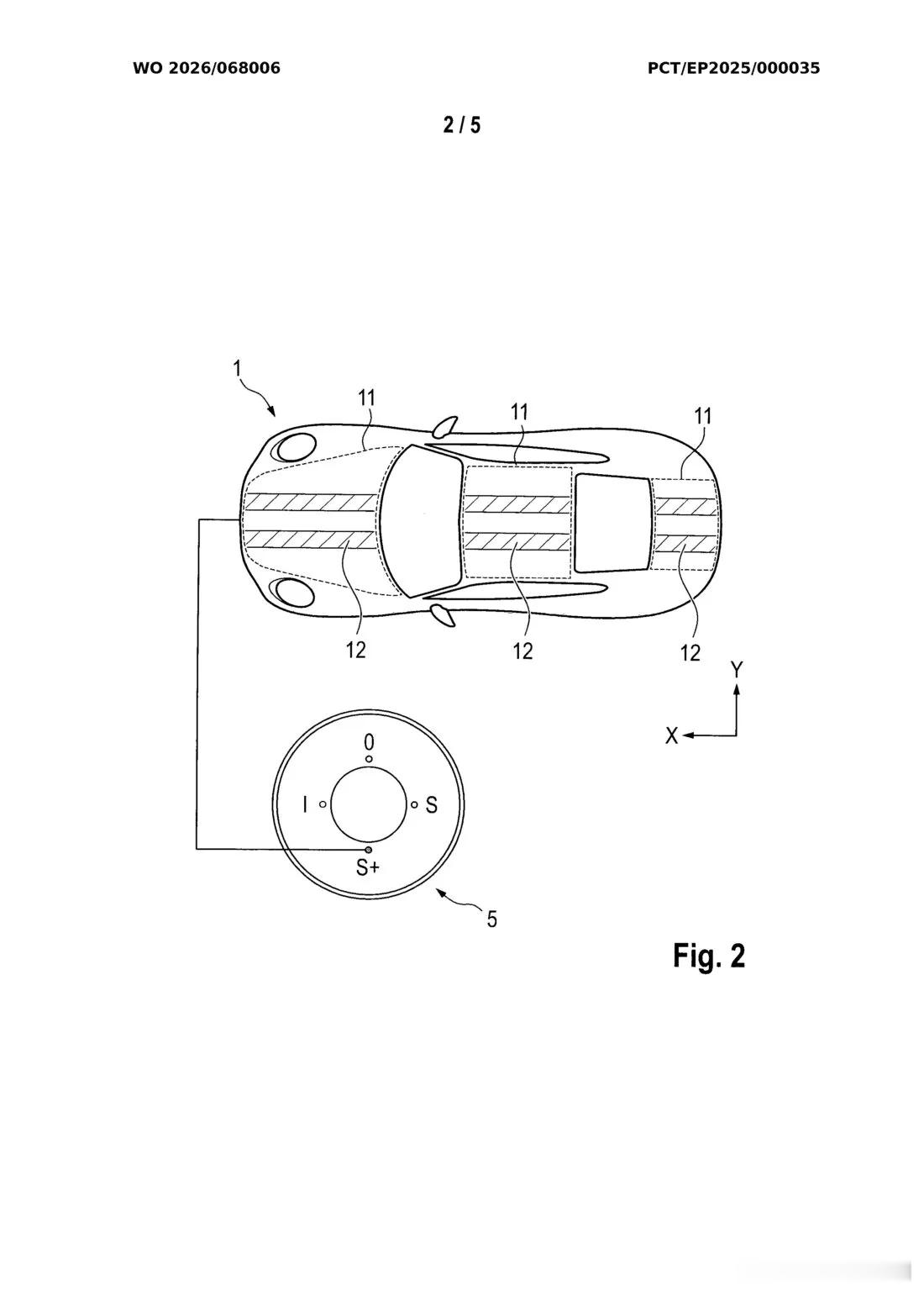
具体来说就是,这个拉花可以根据车辆的驾驶模式旋钮的旋转而切换颜色,保证美感和沉浸感,它甚至可以用于显示纯电动车型的剩余电量状况。这可能是我今年看到过最有趣的一项车辆专利了。汽车资讯保时捷汽场全开我与汽车的日常大v聊车轩言车语保时捷911






赛车拉花居然还可以这样玩?
保时捷刚刚公布了一项新专利,从专利图来看,这项新专利利用了电致变色玻璃上使用的常磁性涂层,从而使得车身上的赛车拉花可以变成其他颜色。
具体来说就是,这个拉花可以根据车辆的驾驶模式旋钮的旋转而切换颜色,保证美感和沉浸感,它甚至可以用于显示纯电动车型的剩余电量状况。这可能是我今年看到过最有趣的一项车辆专利了。汽车资讯保时捷汽场全开我与汽车的日常大v聊车轩言车语保时捷911





